某水泥厂为了生产的需要,,,,,对生料车间和水泥磨车间的两台斗式提升机尾部拉紧装置举行了刷新,,,,,详细做法如下
斗式提升机的尾部调理丝杆经常因粉尘和锈蚀螺母与丝杆难以相对转动,,,,,纵然能相对转动,,,,,要将螺母与丝杆拧到所有脱开也相当难题,,,,,往往只能用气割将丝杆切断。。。。。针对上述问题,,,,,我们将牢靠角钢2和丝杆螺母牢靠框7划分加工成U字型启齿,,,,,并加装卡板4,,,,,卡板与牢靠角钢用M12螺栓联接,,,,,这样拆卸调理丝杆十分简朴,,,,,只要将卡板4拆下,,,,,整套丝杆即可一起拆出,,,,,旧丝杆洗濯后与新件无异,,,,,以后新制作调理丝杆上部螺母可以去掉,,,,,镌汰加工量。。。。。详见图1。。。。。

1.外売;2.牢靠角钢;3.调理滑板;4.U型卡板;5.调理丝杆;6,,,,,螺母;7.螺母牢靠框
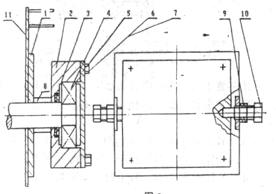
另外,,,,,我们将原来底部轴承座拆除,,,,,改用方型轴承座,,,,,加装置一骨架侍致垅,,,,,将斗式提升机尾轮轴适当加粗加长(以100mm左右为宜),,,,,让轴承座与底部外壳脱开。。。。。用一块12mm的钢板作牢靠板1,,,,,牢靠在原拉紧装置的调理滑板上(焊接或者用螺栓联接均可)。。。。。在牢靠板1上焊上攻丝后的耳板两块,,,,,耳板长度可凭证轴的加长长度现场确定,,,,,要牢靠方型轴承座2。。。。。用螺栓将轴承座牢靠在耳板上,,,,,螺栓的伸出部分正好插入方型轴承座的盲孔内,,,,,拧紧止推螺母9,,,,,这样即可投入使用。。。。。详见图2。。。。。

图2
1.牢靠板;2.方型轴承座;3.骨架侍致垅;4.轴承5.闷盖;6.垫片;7蜾栓;8.耳板;9.止推螺母;10.轴承座牢靠螺栓;11调理滑板
我们对生料车间三台D350和四台HL400以及水泥磨3台HL400提升机举行刷新,,,,,使用了四年多时间,,,,,效果优异,,,,,总结如下
(1)密封性能好,,,,,轴承每年洗濯一次,,,,,基本上没有损坏;
(2)用螺栓和耳板牢靠方型轴承座具有包管作用,,,,,阻止折断尾轮轴,,,,,耳板脱落仅爆发两次
(3)维修简朴,,,,,原来替换一只轴承需要三个小时以致更多时间,,,,,现在通俗岗位工用45分钟左右即可完成。。。。。
(4)调理丝杆加工简朴,,,,,折卸也很是利便,,,,,可举行经常性的洗濯,,,,,节约大宗调理丝杆;
(5)由于方型轴承座与耳板可以相对转动,,,,,无需用调心轴承,,,,,尾轮在有较大幅度倾斜的情形下也能正常事情。。。。。











